(三)生物电现象的产生机制《生理学》

(三)生物电现象的产生机制

早在1902年,Bernstein就提出膜学说,他根据当时关于电离和电化学的理论成果提出了经典的膜学说来解释当时用粗劣的电测量仪器记录到的生物电现象。他认为细胞表面膜两侧带电离子的不同分布和运动,是产生物电的基础。但在当时和以后相当长的一段时期内,还没有测量单一细胞电活动的手段和其他有关技术,因此他的学说长期未能得到证实。直到本世纪40~50年代,Hodgkin 和Huxley等开始利用枪乌贼的巨大神经轴突和电生理学技术,进行了一系列有意义的实验,不仅对经典膜学说关于静息电位产生机制的假设予以证实,而且对动作电位的产生作了新的解释和论证。通过这一时期的研究,对于可兴奋细胞静息电位和动作电位的最一般原理已得到阐明,即细胞生物电现象的各种表现,主要是由于某些带电离子在细胞膜两侧的不均衡分布,以及膜在不同情况下对这些离子的通透性发生改变所造成的。但是由于当时对细胞膜的分子结构和膜中蛋白质的存在形式和功能还知之甚少,因此Hodgkin等对生物电的理解只能是宏观的,对微细过程只能用数学模型来说明。随着70年代以来蛋白质化学和分子生物学技术的迅速发展,蛋白质分子从膜结构中克隆出来,并从它们的分子结构的特点来说明通道的功能特性;特别是70年代中期发展起来的膜片钳(patch clamp)技术,可以观察和记录单个离子通道的功能活动,使宏观的所谓膜对离子通透性或膜电导的改变,得到了物质的、可测算的证明。

1.静息电位和K+平衡电位 Bernstein最先提出,细胞内外钾离子的不均衡分布和安静状态下细胞膜主要对K+有通透性,可能是使细胞能保持内负外正的极化状态的基础。已知所有正常生物细胞细胞内的K+浓度超过细胞外K+很多,而细胞外Na+浓度超过细胞内Na+浓度很多,这是Na+泵活动的结果;在这种情况下,K+必然会有一个向膜外扩散的趋势,而Na+有一个向膜内扩散趋势。假定膜在安静状态下只对K+有通透的可能,那么只能有K+移出膜外,这时又由于膜内带负电荷的蛋白质大分子不能随之移出细胞,于是随着K+移出,出现膜内变负而膜外变得较正的状态。K+的这种外向扩散并不能无限制地进行,这是因为移到膜外的K+所造成的外正内负的电场力,将对K+的继续外移起阻碍作用,而且K+移出的愈多,这种阻碍也会愈大。因此设想,当促使K+外移的膜两侧K+浓度势能差同已移出K+造成的阻碍K+外移的电势能差相等,亦即膜两侧的电-化学(浓度)势代数和为零时,将不会再有K+的跨膜净移动,而由已移出的K+形成的膜内外电位差,也稳定在某一不再增大的数值。这一稳定的电位差在类似的人工膜物理模型中称为K+平衡电位。Bernstein用这一原理说明细胞跨膜静息电位的产生机制。不难理解,K+平衡电位所能达到的数值,是由膜两侧原初存在K+浓度差的大小决定的,它的精确数值可根据物理化学上著名的Nernst公式(1889)算出:

 (1)

(1)式中Ek表示K+平衡电位,R是通用气体常数,Z是离子价,F是Farady常数,T是绝对温度;式中只有[K+]o和[K+]i是变数,分别代表膜两侧的K+浓度。如果把有关数值代入,室温以27°С计算,再把自然对数化为常用对数,则式(1)可简化为;(2)

 (2)

如果,Bernstein应用当时物理化学最新成果说明细胞静息电位产生机制的理论是正确的,那么在细胞实际测得的静息电位的数值,应相当于把当时细胞内外K+浓度值代入式(2)时计算所得的Ek值。1939年Hodgkin等利用了枪乌贼的巨大神经纤维和较精密的示波器等测量仪器,第一次精确地测出此标本的静息电位值,结果发现此值和计算所得的K+平衡电位值非常接近而略小于后者;如在一次实验中测得的静息电位值为-77mV,而按当时[K+]o和[K+]i值算出的Ek为-87mV,基本上符合膜学说关于静息电位产生机制的解释。

为了进一步证实这一理论,Hodgkin等又用人工地改变标本浸溶液中K+浓度即[K+]o,因而也改变了[K+] o/[K+] i值的实验方法,观察到所记录的静息电位的什也随[K+]o的改变而改变,而改变的情况基本上同根据式(2)计算出的预期值相一致。随后用微电极细胞内记录法在纤细的哺乳类标本也进行了类似的实验,得到类似的结果,如在骨骼肌细胞测得的静息电位为-90mV,而计算所得的Ek值为-95mV。这些实验都说明,大多数细胞的静息电位的产生,是由于正常细胞的细胞内液高K+而膜在安静时又主要对K+有通透能力的结果;至于静息电位的数值为何略小于理论上的Ek值,一般认为是由于膜在静息时对Na+也有极小的通透性(大约只有K+通透性的1/50~1/100)的缘故;由于膜外Na+浓度大于膜内,即使小量的Na+逸入膜内也会抵消一部分K+外移造成的膜内负电位。

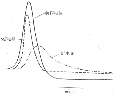
2.锋电位和Na+平衡电位 Hodgkin等根据兴奋时膜内不仅出现负电位的消失,而且出现一定数值的正电位(相当于前面提到的超射值)的事实,因而认为对动作电位上升支的出现,不能像Bernstein那样简单地解释为膜对K+通透性的消失,因为这样最多也只能使膜内原有的负电位回升到零。他们据此设想膜在受到刺激时可能出现了膜对Na+通透性的突然增大,超过了K+的通透性,由于细胞外高Na+,而且膜内静息时原已维持着的负电位也对Na+的内流起吸引作用,于是Na+迅速内流,结果先是造成膜内负电位的迅速消失;而且由于膜外Na+的较高的浓度势能,Na+在膜内负电位减小到零电位时仍可继续内移,直至内移的Na+在膜内形成的正电位足以阻止Na+的净移入时为止。不难设想,这时膜内所具有的电位值,理论上应相当于根据膜内外Na+浓度差代入Nernst公式时所得出的Na+平衡电位值(可写为ENa)。实验数据证明,动作电位所能达到的超射值,即膜内正电位的数值,正相当于计算所得的ENa;而且实验中随着标本浸溶液中Na+被同等数目的葡萄糖分子所代替(使[Na+]o逐渐减小),可以看到所能记录到的动作电位的超射值和整个动作电位的幅度也逐渐减小,其程度也同按Nernst公式算出的预期值基本一致。

但是,膜内电位停留在ENa水平的时间极短;随后很快出现膜内电位向静息时的状态恢复,亦即出现复极,造成了锋电位曲线的快速下降支。如后来的实验证明,这下降支的出现是由于Na+通透性的消失,并伴随出现了K+通透性的增大。

细胞每兴奋一次或产生一次动作电位,总有一部分Na+在去极化时进入膜内,一部分K+在复极时逸出膜外,但由于离子移动受到各该离子的平衡电位的限制,它们的实际进出量是很小的;据估计,神经纤维每兴奋一次,进入膜内的Na+量大约只能使膜内的Na+浓度增大约八万分之一,复极时逸出的K+量也类似这个数量级;即便神经连续多次产生兴奋,短时间内也不大可能明显地改变膜内高K+和膜外高Na+这种基本状态,而只要这种不均衡离子分布还能维持,静息电位就可以维持,新的兴奋就可能产生。细胞膜两侧K+、Na+离子的不均衡分布,主要是靠钠泵蛋白质消耗代谢能建立起来的,而由此形成的势能贮备却可供细胞多次产生兴奋而不需当时耗氧供能。不过实际上钠泵的活动又受膜内外Na+、K+浓度的调控,它对膜内Na+浓度增加十分敏感,Na+的轻微增加就能促使钠泵的活动,因此在每次兴奋后的静息期内,都有钠泵活动的一定程度的增强,将兴奋时多进入膜内的Na+泵出,同时也将复极时逸出膜外的K+泵入,使兴奋前原有的离子分布状态得以恢复。这时由于两种离子的转运同时进行,出入的离子总数又近于相等,故一般不伴有膜两侧电位的明显改变。但在膜内Na+蓄积过多而使钠泵的活动过度增强时,上述的定比关系可以改变,结果是泵出的Na+量有可能明显超过泵入的K+量,这就可能使膜内负电荷相对增多,使膜两侧电位向超极化的方向变化;这时的钠泵,就称为生电性钠泵。有人认为,锋电位以后出现的正后电位,是由于生电性钠泵作用的结果。至于负后电位,则一般认为是在复极时迅速外流的K+蓄积在膜外侧附近,因而暂时阻碍了K+外流的结果。

3.经典的电压钳(或电压固定)实验 从上述可知,Hodgkin等对于动作电位产生机制的说明,关键在于膜受刺激时对Na+、K+的通透性发生了有选择而时间亦有先后的改变,但这只是根据所测得的膜内外电位改变对照Nernst公式进行的推论,实验并没有对膜的通透性进行直接的测量和动态描述。为此,他们又应有当时最先进的电子学技术,设计和进行了著名的电压钳(voltage clamp)实验。实验的设计根据是:离子作跨膜移动时形成了跨膜离子电流(I),而通透性亦即离子通过膜的难易程度,就是膜的电阻(R)或其倒数电导(G),因此所谓膜对某种离子通透性增大时,实际是膜对该离子的电导加大;对于带电离子来说,膜电导就是膜通透性的同义语。根据欧姆定律,I=VG,可知在膜两侧电位差(V)固定不变的条件下,测出的跨膜电流I的变化,就可作为膜电导变化的度量。测定膜在受刺激时跨膜电流的改变在技术上是容易的,但在这过程中要保持膜电位固定不变却不容易;因为当存在跨膜离子电流时,离子的进出膜会使不导电而有电容(C)特性的脂质膜充电或放电,因而根据V=Q/C的关系(其中Q为电量,相当于I和时间t的乘积),跨膜离子的移动必然要引起跨膜电位的改变;实际上记录到的动作电位就是这种改变。正因为如此,Hodgkin等自行设计了一种应用负反馈原理的电子学装置,使它们能在跨膜电位维持恒定(恒定的数值可由实验者通过实验装置预先设定)的情况下,测量跨膜离子电流的强度改变,并由此计算出膜电导即膜通透性的变化情况。电压钳实验的基本原理模式图如图2-12所示。图中电极1插入巨大神经轴突内一定距离,用来测量和监察这一段轴突膜内的电位,此电极先连到一个电压放大器,再在一个示波器上显示;电极1测得电位值经放大后同时输给一个负反馈放大器(FBA),这是整个仪器设计的关键部分,它可把测得的膜内电位同来自一个电压源的、由实验者预先设定的要求保持恒定的电位值进行比较,如果二者有差值,FBA就会通过电极2向轴突膜内输出相应强度和方向的电流,由于仪器线路的精密设计和快速反应,电极2输出电流的改变正足以补偿标本由于跨膜离子电流使膜充放电而引起的跨膜电位的变动,于是与电极1相边的示波器上显示出膜内电位固定在设定的数值,而在电流放大器IA上测得的跨膜离子电流的变化,就反映了膜电导的变化。

电压钳实验布置模式图

图 2-12 电压钳实验布置模式图

电压固定实验获得了许多有意义的结论。首先一点是,只有设定的膜内电位固定在去极化水平时,才有可能出现膜的Na+电导(GNa)和K+电导(Gk)的增大,并且设定电位愈接近零值,电导的增大也愈明显;相反,如果设定的膜内电位值是超极化的,则不可能引起跨膜离子电流和膜电导的改变,这一点以后还要谈到。以图2-13的记录曲线为例,分析不同离子的电导在一次兴奋过程中的变化情况。图中最上方曲线表示在一次电压钳实验中,把膜内电位由静息时的-65mV突然固定(这就是(clamp)的意思)在-9mV,结果很快引起一次如曲线A的跨膜电流变化曲线,这曲线的开始部分是内向的,以后逐渐转变为外向电流。只记录到内向或外向电流还不能说明电荷的携带者是何种离子,根据过去的实验者有理由认为,先出现的内向电流可能是Na+电流(INa),外向电流则可能是K+电流(Ik)。用附加的实验观察证明了这点:假定把标本浸浴液中的NaCI用相同摩尔数的氯化胆碱来代替,则在同样的条件下只能记录到较晚出现的曲线B,它是外向的,这显然是因为不能出现内向的INa的结果;把曲线A和B逐点相减,就能得到曲线C,它就是内向的INa;由INa、Ik两条曲线,就可算出GNa和Gk的变化曲线,其特点是:(1)GNa和Gk都是电压依从性的,只能由跨膜电位的去极化所激活,但GNa被激活得早,是动作电位上升支出现的基础,而Gk激活出现缓慢,是动作电位复极到静息电位水平的基础;(2)GNa有失活(inactivation)状态而Gk没有此特性,其证明是图2-13中曲线C只存在1~2ms,以后跨膜电压虽仍固定在-9mV的水平,但GNa早已恢复到原初水平,而代表Gk的曲线B虽然出现较晚,但它在设定电位持续期间一直维持在较同的水平。GNa失活的出现和Gk的激活是造成神经纤维和骨骼肌细胞表现短促的锋电位的原因;在膜复极以后GNa的失活状态才能消失,这时GNa才能因膜的去极化而再出现增大。

电压钳实验结果示意图

图2-13 电压钳实验结果示意图

将巨大神经纤维的膜电位由原来的-65mv突然上升并固定于-9mv的水平时,

膜的离子电流的变化情况(曲线A、B、C的意义见正文)

根据图2-13中INa和Ik两条电流曲线,即可计算出同这两者相对应的GNa和Gk曲线,再根据这一段膜所具有的电容的数值(有人测得每cm2的枪乌贼轴突膜的电容约为1μF),就可算出如果“允许”每一瞬间的离子移动在电容上形成电位改变时,有可能造成怎样的跨膜电位的改变,这正是不进行“电压固定”时的情况,而由此作出的电位变化曲线正好同在一般实验中记录到的动作电位的波形特点一致,如图2-14所示。这进一步说明了电压钳实验证明动作电位产生机制的正确性。

4.膜片钳实验和单通道离子电流的记录通过上节关于电压门控通道的特性分析已知,所谓膜对某种离子通透性的改变,实际上决定于膜结构中有关离子通道蛋白质分子的功能状态;例如,Hodgkin等测出的GNa的变化,实际是那一段轴突膜上众多的电压门控式Na+通道因膜的去极化而开放的结果。在Hodgkin等当时进行的膜电导改变的数学模拟中,已经明确提示,GNa和Gk的改变不是均匀地发生在整个膜平面上,而是与膜上某些特定的“点”有关,不久又发现,有些药物可以选择性地阻断某种离子的跨膜移动,如河豚毒可以单独阻断GNa而不影响Gk,四乙基铵可以单独阻断Gk而不影响GNa;以同位素标记的河豚毒只能与膜上某些特殊的“点”作特异性结合,而标记的四乙基铵只能与另一些“点”结合。这些实验以及兴奋过程中离子移动数目之多与快,逐渐使人们推断膜结构中有特殊的蛋白质离子通道的存在。这说明,“通道”概念的提出,远在通道的实质被阐明以前,是前者促进了对后者的进一步探索。70年代中期由Neher和Sakmann等发展出一种能够记录膜结构中单一的离子通道蛋白质分子的开放和关闭、亦即测量单通道离子电流和电导的技术,称为膜片钳实验。

电导变化与电位变化的关系示意图

图 2-14 电导变化与电位变化的关系示意图

根据电压钳实验中测得的Na+电导(GNa)和K+电导(Gk)的变化过程,

可以算出在膜电位不进行人为固定时,相应的Na+、K+离子电流在膜电容

上引起的电位变化(实线),其形状正同在标本上记录到的动作电位的波形一致

膜片钳实验的基本原理如图2-15A所示:用一个尖端光洁、直径约0.5~3μm的玻璃微电极同神经或肌细胞的膜接触而不刺入,然后在微电极另一端开口施加适当的负压,将与电极尖端接触的那一小片膜轻度吸入电极尖端的纤细开口,这样在这小片膜周边与微电极开口处的玻璃边沿之间,会形成紧密的封接,在理想的情况下其电阻可达数个或数十千兆欧(其物理过程目前尚不清楚),这实际上把吸附在微电极尖端开口处的那一小片膜同其余部分的膜在电学上完全隔离开来;如果在这一小片膜中只包含了一个或少数几个通道蛋白质分子,那么通过此微电极就可能测量出单一通道开放时的离子电流和电导,并能对单通道的其他功能特性进行分析。

膜片钳实验布置示意图

图2-15 膜片钳实验布置示意图

A:图中Ip为记录到的单通道电流,VCMD决定设定的膜电位数值

B:在大鼠胚胎骨骼肌细胞膜片上记录到的由ACH激活的单通道

离子电流,强度为pA(皮安)级

从Neher等最初用膜片钳技术观察骨骼肌终板膜处的单一ACh-门控通道机能特性开始,已经对多种通道进行了观察,发现它们一般有如下共同特性:(1)不论是化学门控或电压门控通道,它们的开放和关闭都是突然的,使描绘出的电流曲线呈方波状,说明相应的蛋白质分子可以从一种构象快速地跃变到另一种构象;(2)每种通道开放时具有恒定的电导,即在恒定的情况下,只能看到“开”或“关”两种状态,很少看到“半开”或“部分开”的情况;(3)即使是同一通道分子,每次开放的持续时间长短也不一致,似乎说明蛋白质分子可在开放和关闭两种构象之间“摆动”,停留在某种状态的长短具有随机的性质;(4)在化学门控通道结合了相应的化学信号分子,或电压门控通道所在膜两侧处于特定的电位差的情况下,“摆动”的次数增多,开放的机率增大,而“失活”使开放的机率减小。

用单通道记录可说明在自然情况下整段膜的离子电导和离子电流的形成机制;以上述GNa增大为例,它显然是该段膜中众多的Na+通道在去极化的影响下出现开放的机率增加所决定的,而在每一瞬间同时出现的各通道的电导或离子电流相互叠加,于是如图2-16B所示,这种叠加形成的Na+电流曲线,正好和图2-13中的曲线C相似。

膜片钳实验可用于各种细胞,由于微电极不刺入细胞,即使用于纤小的细胞也不致造成损伤。膜片钳实验已有各种变式,如吸着在微电极尖端的小膜片可以随电极而同原细胞脱离,把它们浸入人工浸浴液中,就可以观察某些因素在膜的胞浆侧怎样影响通道功能;也可以形成膜的胞浆侧面向微电极尖端开口而膜表面侧面向浸浴液的实验模式,等等。膜片钳实验也已用于细胞生物电以外的功能研究,如细胞的分泌过程等。

电压门控Na+通道的膜片钳记录A:

图2-16 电压门控Na+通道的膜片钳记录A:

随着静息电位(Em)由-110mV突然固定到-50mV,

在3次膜片钳实验记录到的离子电流 B:将144次膜片钳记录

到的离子电流曲线进行平均叠加,得到一条类似图

2-13中曲线C的Na+电流曲线,说明后者是多数Na+通道激活的结果

上一页:(二)细胞的静息电位和动作电位
当前页:(三)生物电现象的产生机制
下一页:(一)阈电位和锋电位的引起